DIN 34802-2001 大扳拧梅花槽圆柱头螺钉
责任编辑:泰强不锈钢
作者:泰强不锈钢
人气:
发表时间:2015-09-12 09:50

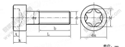
| 公称直径d | M5 | M6 | M8 | M10 | M12 | M14 | M16 | M20 | |
| 螺距P | 0.8 | 1 | 1.25 | 1.5 | 1.75 | 2 | 2 | 2.5 | |
| b | 22 | 24 | 28 | 32 | 36 | 40 | 44 | 52 | |
| dk | max | 8.5 | 10 | 13 | 16 | 18 | 21 | 24 | 30 |
| min | 8.4 | 9.9 | 12.88 | 15.88 | 17.85 | 20.85 | 23.85 | 29.8 | |
| ds | max | 5 | 6 | 8 | 10 | 12 | 14 | 16 | 20 |
| min | 4.82 | 5.82 | 7.78 | 9.78 | 11.73 | 13.73 | 15.73 | 19.67 | |
| k | max | 5 | 6 | 8 | 10 | 12 | 14 | 16 | 20 |
| min | 4.82 | 5.7 | 7.64 | 9.64 | 11.57 | 13.57 | 15.57 | 19.48 | |
| t min | 2.4 | 3 | 4 | 4.9 | 6 | 7 | 7.7 | 10 | |
| M | 5.6 | 6.75 | 8.95 | 11.35 | 13.45 | 15.7 | 17.5 | 22.4 | |
| 槽号 | 30 | 40 | 50 | 55 | 60 | 70 | 80 | 100 | |
| 公称直径d | M5 | M6 | M8 | M10 | M12 | M14 | M16 | M20 |
| 公称长度L | 每1000件钢制品的质量≈kg | |||||||
| 8 | 2.45 | |||||||
| 10 | 2.7 | 4.7 | ||||||
| 12 | 2.95 | 5.07 | 10.9 | |||||
| 16 | 3.45 | 5.75 | 12.1 | 20.9 | ||||
| 20 | 4.01 | 6.53 | 13.4 | 22.9 | 32.1 | |||
| 25 | 4.78 | 7.59 | 15 | 25.4 | 35.7 | 48 | 71.3 | |
| 30 | 5.55 | 8.3 | 16.9 | 27.9 | 39.3 | 53 | 77.8 | 128 |
| 35 | 6.32 | 9.91 | 18.9 | 30.4 | 42.9 | 58 | 84.4 | 139 |
| 40 | 7.09 | 11 | 20.9 | 32.9 | 46.5 | 63 | 91 | 150 |
| 45 | 7.86 | 12.1 | 22.9 | 36.1 | 50.1 | 73 | 97.6 | 161 |
| 50 | 8.63 | 13.2 | 24.9 | 39.3 | 54.5 | 78 | 106 | 172 |
| 55 | 14.3 | 26.9 | 42.5 | 58.9 | 84 | 114 | 183 | |
| 60 | 15.4 | 28.9 | 45.7 | 63.4 | 90 | 122 | 194 | |
| 65 | 31 | 48.9 | 67.8 | 96 | 130 | 205 | ||
| 70 | 33 | 52.1 | 71.3 | 108 | 138 | 216 | ||
| 80 | 37 | 58.5 | 80.2 | 120 | 154 | 241 | ||
| 90 | 64.9 | 89.1 | 132 | 170 | 266 | |||
| 100 | 71.2 | 98 | 144 | 186 | 291 | |||
| 110 | 107 | 156 | 202 | 316 | ||||
| 120 | 116 | 168 | 218 | 341 | ||||
| 130 | 180 | 234 | 366 | |||||
| 140 | 250 | 391 | ||||||
| 150 | 266 | 416 | ||||||
| 160 | 282 | 441 | ||||||
| 180 | 491 | |||||||
| 200 | 541 | |||||||
此文关键字:
DIN 34802-2001, 大扳拧,梅花槽,圆柱头,螺钉
同类文章排行
- DIN 6926-1983 非金属嵌件锁紧
- GB/T 805-1988 扣紧螺母
- DIN 7967-1970 扣紧螺母
- GB/T 6177.2-2000 细牙六角法兰
- GB/T 6177.1-2000 六角法兰面螺
- DIN 6923-1983 六角法兰螺母
- GB/T 2148-1991 带肩六角螺母
- DIN 6331-1991 六角带介螺母
- GB/T 802-1988 组合式盖形螺母
- GB/T 802.4-2009 六角低球面盖
最新资讯文章
- 紧固件:铆钉的性能特点
- 不锈钢铆钉的结构特点
- 低碳马氏体工艺在高强度
- 不锈钢紧固件的加工特性
- 高强度螺栓磁粉探伤的实
- 紧固件新型的螺栓连接形
- Cr12MoV钢二次硬化温度的研
- 电泳涂装在紧固件上的应
- 标准件紧固件磷化常见问
- 冷轧钢板表面质量的研讨










